透镜中心偏差(GB/T-7242-2010)
范围
本标准规定了透镜中心偏差的术语和定义、基准轴的选定与标注、中心偏差的标注及检验。
本标准适用于由球面与球面或球面与平面组成的且具有旋转对称边缘面的单透镜和胶合透镜。对于具有其他边缘形状的透镜(例如:矩形透镜)也基本适用。
2 规范性引用文件
下列文件中的条款通过本标准的引用而成为本标准的条款。凡是注日期的引用文件,其随后所有的修改单(不包括勘误的内容)或修订版均不适用于本标准;然而,鼓励根据本标准达成协议的各方研究是否可使用这些文件的最新版本。凡是不注日期的引用文件,其最新版本适用于本标准。
-
GB/T 1182 产品几何技术规范(GPS) 几何公差 形状、方向、位置和跳动公差标注
-
GB/T 1224 几何光学术语、符号
-
GB/T 13323—2009 光学制图
-
GB/T 13962 光学仪器术语
3 术语和定义
GB/T 1224、GB/T 13323—2009 和 GB/T 13962 确立的以及下列术语和定义适用于本标准。
3.1 透镜中心偏差
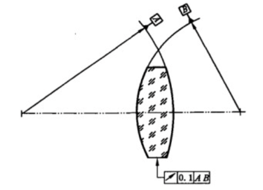
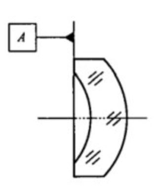
光学表面定心顶点处的法线对基准轴的偏离量。
透镜中心偏差是用光学表面定心顶点处的法线与基准轴的夹角来度量,此夹角称为面倾角,用希腊字母 χ 表示(见图1)。

3.2 基准轴 用来标注、检验和校正中心偏差,并按定位零件或组件光学表面的特定性能所选取的轴。
3.3 几何轴 透镜边缘面的旋转轴。
3.4 定心顶点 光学表面与基准轴的交点。
3.5 球心差 a被检光学表面球心到基准轴的距离。
3.6 偏心差 c
被检光学零件或组件的几何轴在后节面上的交点与后节点的距离(在数值上等于透镜绕几何轴旋转时焦点像跳动半径)。
4 基准轴的选定与标注
4.1 对单透镜可根据透镜安装表面的形状和装夹条件来选定基准轴(见表1中例1~例4)。对胶合透镜可根据中心偏差的要求,选定表1中例2~例4的基准轴,或选定定心仪的旋转轴为胶合透镜的基准轴(见表1中例6)。
4.2 对三片及三片以上的胶合透镜,各胶合面定位操作应遵守基准轴不变的原则,当工艺需要改变基准轴时,必须保证已胶合部分的各光学表面的中心偏差均符合要求。
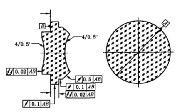
4.3 基准轴采用GB/T 1182规定的基准代号,在零件图样上按表1标注确定的标准轴或参见附录A标注基准轴。
表1 基准轴的选定与标注示例
| 基准轴的选定 | 基准轴的标注 | 说明 |
|---|---|---|
| 例1:以透镜的几何轴为基准轴 | ![]() |
![]() |
| 例2:以透镜边缘面与光学表面交线圆中心P和该光学表面球心C₁的连线为基准轴 | ![]() |
![]() |
| 例3:以通过透镜边缘面和端平面交线圆中心P的端平面法线为基准轴 | ![]() |
![]() |
| 例4:以光学表面球心C₁和边缘面与选定平面交线圆中心P的连线为基准轴 | ![]() |
![]() |
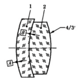
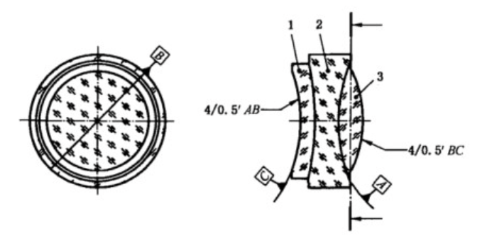
| 例5:以标有基准代号的透镜的基准轴(例2所示)为双胶合透镜的基准轴 | ![]() |
胶合面的中心偏差是磨边工序剩余下来的允许范围,本工序只校正外表面的中心偏差 |
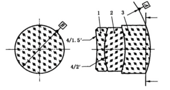
| 例6:以定心仪的旋转轴为基准轴 | ![]() |
标注的胶合透镜光轴,即光学设计时给定中心偏差的基准轴,一般是以定心仪的旋转轴来实现 |
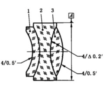
| 例7:以例2的基准轴为三胶合透镜的基准轴 | ![]() |
两胶合面的中心偏差是磨边和上道胶合工序剩余下来的允许范围,本工序只校正外表面的中心偏差 |
注1:图中C₁、C₂等表示自左向右光学表面的球心。
注2:同例5、例7一样,例3和例4的基准轴均可作为胶合透镜的基准轴。
注3:除上述示例以外,还可根据实际需要选取基准轴(参见附录A),并按国家标准进行规范的基准标注。
5 中心偏差的标注
5.1中心偏差的标注包括基准轴的标注和中心偏差允许值的标注两部分。
5.1.1基准轴的标注见4.3。
5.1.2 各光学表面中心偏差的允许范围用列表表示,也可以在图样上用引线指出,其代号及标注按 GB/T 13323-2009的3.7,即4/X¡、4/X₂、4/X₃……X单位为分(’)。若图样中出现两个以上基准代号时,则在X值后注明,例如X=1'A
当某一光学表面选作基准面时,其X值为零,不必标注。
5.1.3按表中例6标注基准轴时,必须标注各光学表面的中心偏差。
5.2若对胶层楔形有要求时,用文字说明。
6 检验
6.1 根据图样上标注的基准轴和中心偏差的允许范围,可采用相应精度的反射式定心仪检验。
当被检光学表面球半径R为有限值时,可根据X值(见图1)按式(1)换算出球心到基准轴的距离 a,也可按检验出的a值,按式(2)换算出面倾角X值。
a=X · R/3 438=0.291 · X · R · 10-2.…--………………………(1)
X=3 438·a/R ......…………………(2)
式中:
X一一透镜中心偏差,用面倾角表示,单位为分(‘);
a一一被检光学表面球心到基准轴的距离,单位为毫米(mm); R一一被检光学表面球半径,单位为毫米(mm)。
6.2在保证中心偏差测量精度的条件下,允许采用其他方法进行检验(参见附录B)。
附录A(资料性附录)
ISO 10110-6《光学和光学仪器 光学零件和光学系统图样 第6部分 中心偏公差》
基准轴标注形式示例

图 A.1 以透镜边缘面的对称轴为基准轴
图 A.2 以光学表面球心和选定截面中心点的连线为基准轴

图 A.3 以曲率中心和同一表面(与边缘面交线圆的)中心点的连线为基准轴
图 A.4 基准轴垂直于平面 B 并通过左表面(与边缘面交线圆的)中心点

图 A.5 以透镜 2 边缘面的对称轴为基准轴

图 A.6 以透镜 1 左表面曲率中心和同一表面(与边缘面交线圆的)中心点的连线为基准轴

图 A.7 以透镜 1 两表面曲率中心连线为基准轴

图 A.8 以透镜 2 边缘面的对称轴为基准轴(包括胶层楔形标注)

图 A.9 以透镜 3 右表面曲率中心和同一表面(与边缘面交线图的)中心点的连线为基准轴

图 A.10 以机械零件为基准的基准轴

图 A.11 无光学功能表面中心偏差的标注

图 A.12 无光学功能表面中心偏差的标注

图 A.13 分别板中心偏差的标注

图 A.14 以两个不同基准轴为基准的组件中心偏差的标注
附录B(资料性附录)
透射式定心仪检验方法
B.1
透镜的中心偏差可采用球心差 a、偏心差 c 及透镜边厚最大差值 Δt 等参量来表征,相应地测量这些参量也可检测"中心偏差"。
B.2
透镜的偏心差 c 可采用透射式定心仪检验。
B.2.1
透射式定心仪检验时,仅用表 1 中例 1、例 2、例 4 三种基准轴 (X₁ = 0、旋转轴是它的几何轴)。
B.2.2
透射式定心仪检验出的偏心差 c 与透镜中心偏差 X₂ 的关系
单透镜两光学表面中有一个选作基准面时,则偏心差 c 按式(B.1)计算,光学表面透镜中心偏差 X₂ 的允许范围计算按式(B.2)。计算选作基准面的光学表面 (X₁ = 0)
c=0.291(n−1)lF′⋅X2⋅10−3X2=3438⋅c(n−1)lF′
式中:
c——偏心差,单位为毫米(mm);
X₂——透镜中心偏差,单位为分(');
n——透镜材料的折射率;
l'_{F}——透镜的像方顶焦距,单位为毫米(mm)。
B.2.3
双胶合透镜三个光学表面(胶合面按一个面对待)中有一个选作基准面时,则偏心差 c 可由另两个光学表面中心偏差(用面倾角表示) X₂, X₃ 的允许范围按式(B.3) 计算,但 |(n₂ - n₁)X₂| 不得大于 (n₂ - 1)|X₃|
c=0.291lF′[(n2−1)∣X3∣−∣(n2−n1)X2∣]⋅10−3......(B.3)
式中:
c——偏心差,单位为毫米(mm);
X₂——光学表面 2 的透镜中心偏差,单位为分(');
X₃——光学表面 3 的透镜中心偏差,单位为分(');
n₁——第一透镜(其中一个面是基准面)材料的折射率;
n₂——第二透镜材料的折射率;
l'_{F}——双胶合透镜的像方顶焦距,单位为毫米(mm)。
参考文献
[1] ISO 10110-6:1996 《光学和光学仪器 光学零件和光学系统图样 第6部分 中心偏公差》











